Területarányos multihabitat típusú mintavétel
Megjelent magyar nyelven az MSZ EN 16150 azonosító jelzetű szabvány.
Ez az európai szabvány útmutatást ad a bentikus makrogerinctelenek lábalható mélységű folyókból és patakokból való, területarányos multihabitat típusú mintavételéhez. A „területarányos” kifejezés arra utal, hogy a mintavétel a rendelkezésre álló, különböző folyóvízi élőhelyből (habitatokból), azok jelenlétének megfelelő részarányban történik.
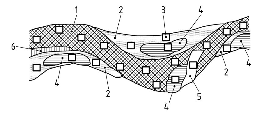
A területarányos multihabitat típusú mintavétel nem más módszerek helyettesítésére szolgál, hanem azokhoz hasonlóan alkalmas a folyóvizek ökológiai állapotértékelésére alkalmazott multimetrikus minősítési eljárásokhoz elengedhetetlenül szükséges minták gyűjtésére. Egy teljes minta több mintavételi egységből (ME) áll, melyek mennyisége az élőhelytípusok százalékos borítási arányának megfelelően alakul. Az AQEM- és STAR-felmérések alapján a lábalható mélységű folyóvizek optimális ökológiai állapotértékeléséhez 20 „mintavételi egységet” határoztak meg, amelyeket a mintavételi helyen lévő összes olyan élőhelytípusból kell venni, melyek borítási aránya legalább 5%.

Jelmagyarázat:
1 köves, kavicsos aljzat (55% = 11 mintavételi egység)
2 homok (25% = 5 mintavételi egység)
3 mintavételi egység
4 durva szemcsés szerves anyagok (CPOM) (15% = 3 mintavételi egység)
5 fás elemek (5% = 1 mintavételi egység)
6 sóder (< 5% = 0 mintavételi egység)
A szabvány magyar nyelvű elkészítése során talált pontatlanságokat a szakértők javaslata alapján az MSZT megküldte az illetékes európai bizottságnak.
A szabvány magyar nyelvű fordításában és kidolgozásában részt vett Ficsór Márk, a Borsod-Abaúj-Zemplén Megyei Kormányhivatal, valamint Dr. Boda Pál és Dr. Várbíró Gábor, az MTA Ökológiai Kutatóközpontja képviseletében. Ezúton is köszönjük munkájukat!
Csík Gabriella
2020. február